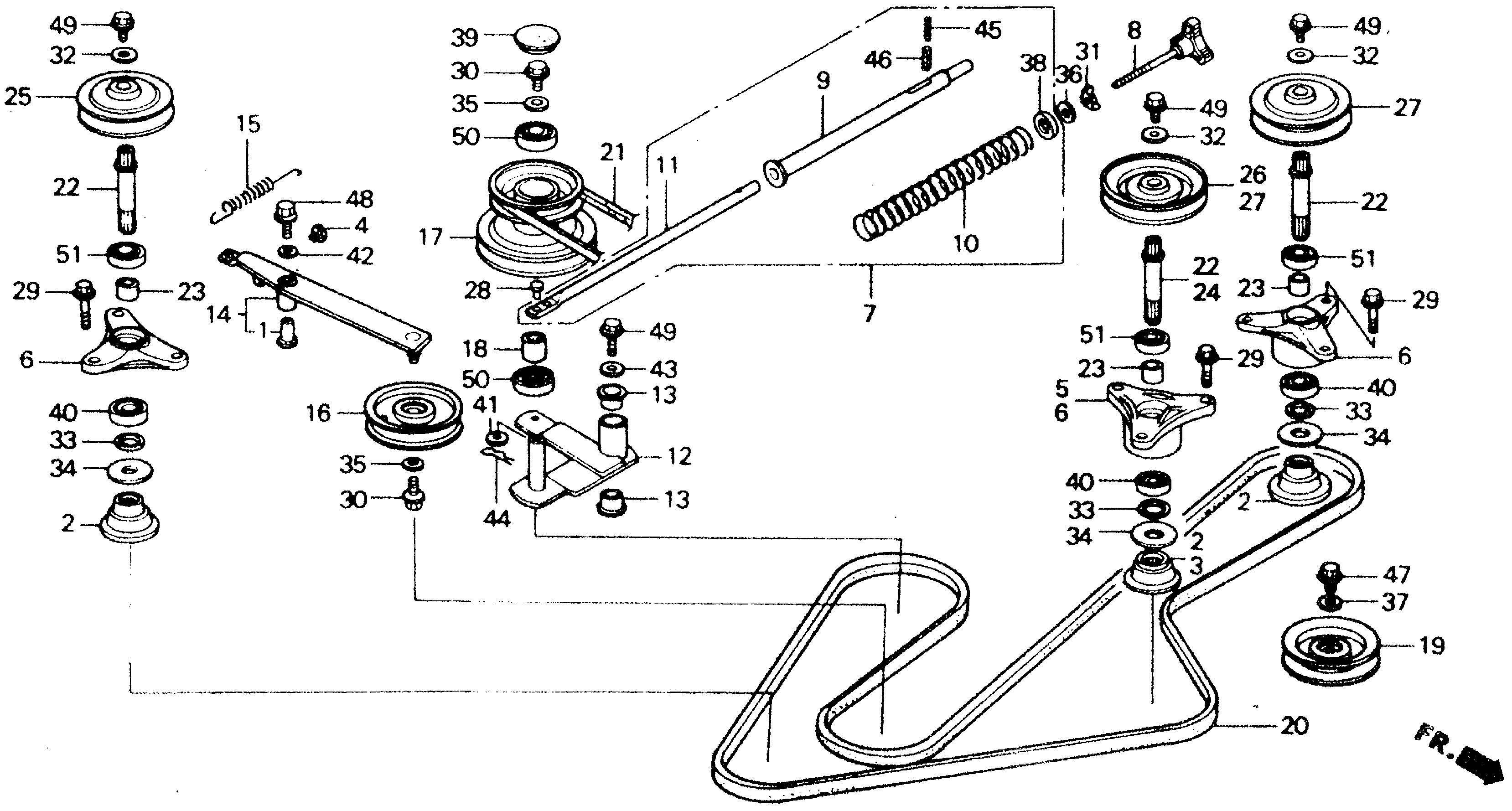
Lawn Tractor CD CD4542 CD4542 SA RZAU-1000001-9999999 BLADE SHAFT II - Elkhorn Ace Hardware and Garden Center

Ref No
Part Number
Description
Serial Range
Qty
Price

Ref No
1
Part Number
22525-751-300
Description
BUSH (15X19X39.5)
Serial Range
1000001 - 9999999
Qty
Price
$12.12

Ref No
2
Part Number
72611-758-L00
Description
HOLDER, BLADE (NOT AVAILABLE)
Serial Range
1000001 - 9999999

Ref No
3
Part Number
72620-751-701
Description
HOLDER, BLADE
Serial Range
1000001 - 9999999
Qty
Price
$54.96

Ref No
4
Part Number
72701-751-701
Description
RUBBER, STOPPER
Serial Range
1000001 - 9999999
Qty
Price
$7.38

Ref No
5
Part Number
72711-758-N00
Description
HOUSING, BEARING (NOT AVAILABLE)
Serial Range
1000001 - 9999999

Ref No
6
Part Number
72711-763-A00
Description
HOUSING, BEARING
Serial Range
1000001 - 9999999
Qty
Price
$145.00

Ref No
7
Part Number
75550-758-N01
Description
PIPE ASSY., TENSIONER
Serial Range
1000001 - 9999999
Qty
Price
$127.64

Ref No
8
Part Number
75552-758-L01
Description
KNOB, TENSIONER SPRING RELEASE (NOT AVAILABLE)
Serial Range
1000001 - 9999999

Ref No
8
Part Number
75552-758-L02
Description
KNOB, TENSIONER SPRING RELEASE (NOT AVAILABLE)
Serial Range
1000001 - 9999999

Ref No
9
Part Number
75556-758-N01
Description
PIPE, SPRING SETTING (NOT AVAILABLE)
Serial Range
1000001 - 9999999

Ref No
10
Part Number
75557-758-N00
Description
SPRING, TENSIONER LOAD SETTING (NOT AVAILABLE)
Serial Range
1000001 - 9999999

Ref No
11
Part Number
75558-758-N01
Description
SHAFT, SPRING SET
Serial Range
1000001 - 9999999
Qty
Price
$50.20

Ref No
12
Part Number
76120-758-J00
Description
ARM, TENSION (NOT AVAILABLE)
Serial Range
1000001 - 9999999

Ref No
13
Part Number
76121-750-000
Description
BUSH, TENSIONER ARM (NOT AVAILABLE)
Serial Range
1000001 - 9999999

Ref No
14
Part Number
76123-758-N03
Description
ARM, TENSIONER (DECK) (NOT AVAILABLE)
Serial Range
1000001 - 9999999

Ref No
15
Part Number
76129-758-L00
Description
SPRING, TENSIONER ARM B (NOT AVAILABLE)
Serial Range
1000001 - 9999999

Ref No
16
Part Number
76130-758-J00
Description
ROLLER, TENSIONER (NOT AVAILABLE)
Serial Range
1000001 - 9999999

Ref No
17
Part Number
76140-758-N00
Description
PULLEY, DRIVEN
Serial Range
1000001 - 9999999

Ref No
18
Part Number
76141-750-000
Description
COLLAR, DRIVEN PULLEY (NOT AVAILABLE)
Serial Range
1000001 - 9999999

Ref No
19
Part Number
76160-751-000
Description
PULLEY, TENSIONER
Serial Range
1000001 - 9999999
Qty
Price
$63.66

Ref No
20
Part Number
76181-758-N01
Description
V-BELT, BLADE (LB-98) (NOT AVAILABLE)
Serial Range
1000001 - 9999999

Ref No
21
Part Number
76182-758-N00
Description
V-BELT, DECK (LB-104)
Serial Range
1000001 - 9999999

Ref No
22
Part Number
76212-758-L00
Description
SHAFT, BLADE (NOT AVAILABLE)
Serial Range
1000001 - 9999999

Ref No
23
Part Number
76213-751-700
Description
COLLAR, BLADE SHAFT
Serial Range
1000001 - 9999999
Qty
Price
$12.08

Ref No
24
Part Number
76214-751-700
Description
SHAFT, BLADE (112.5MM)
Serial Range
1000001 - 9999999
Qty
Price
$86.26

Ref No
25
Part Number
76220-752-830
Description
PULLEY, R. DECK (NOT AVAILABLE)
Serial Range
1000001 - 9999999

Ref No
26
Part Number
76220-758-N00
Description
PULLEY, BLADE (120MM) (NOT AVAILABLE)
Serial Range
1000001 - 9999999

Ref No
27
Part Number
76240-752-830
Description
PULLEY, DECK (NOT AVAILABLE)
Serial Range
1000001 - 9999999

Ref No
28
Part Number
90753-758-J00
Description
PIN, TENSIONER ARM (10X19.5)
Serial Range
1000001 - 9999999
Qty
Price
$5.06

Ref No
29
Part Number
90002-752-830
Description
BOLT, FLANGE (10X28) (NOT AVAILABLE)
Serial Range
1000001 - 9999999

Ref No
30
Part Number
90110-VA4-000
Description
BOLT, WHEEL
Serial Range
1000001 - 9999999
Qty
Price
$4.00

Ref No
31
Part Number
90352-750-950
Description
WINGNUT (8MM) (NOT AVAILABLE)
Serial Range
1000001 - 9999999

Ref No
32
Part Number
90405-758-L00
Description
WASHER (10.5X27X4)
Serial Range
1000001 - 9999999
Qty
Price
$10.64

Ref No
33
Part Number
90428-752-830
Description
WASHER, THRUST (20MM)
Serial Range
1000001 - 9999999
Qty
Price
$3.94

Ref No
34
Part Number
90429-752-830
Description
WASHER, BLADE HOLDER
Serial Range
1000001 - 9999999
Qty
Price
$10.16

Ref No
35
Part Number
90430-657-000
Description
WASHER (23X8.3X3.2)
Serial Range
1000001 - 9999999
Qty
Price
$8.56

Ref No
36
Part Number
90430-758-L00
Description
WASHER, TENSIONER SPRING RELEASE (8.3X23X3.2) (NOT AVAILABLE)
Serial Range
1000001 - 9999999

Ref No
37
Part Number
90453-752-830
Description
WASHER (6MM)
Serial Range
1000001 - 9999999
Qty
Price
$5.14

Ref No
38
Part Number
90526-751-700
Description
WASHER, BRAKE SPRING SETTING
Serial Range
1000001 - 9999999
Qty
Price
$7.72

Ref No
39
Part Number
90872-758-L01
Description
PLUG, SEALING (40X8) (NOT AVAILABLE)
Serial Range
1000001 - 9999999

Ref No
40
Part Number
91055-752-831
Description
BEARING, RADIAL BALL
Serial Range
1000001 - 9999999
Qty
Price
$22.20

Ref No
41
Part Number
94101-10800
Description
WASHER, PLAIN (10MM)
Serial Range
1000001 - 9999999
Qty
Price
$2.30

Ref No
42
Part Number
94103-08800
Description
WASHER, PLAIN (8MM)
Serial Range
1000001 - 9999999
Qty
Price
$1.14

Ref No
43
Part Number
94103-10800
Description
WASHER, PLAIN (10MM)
Serial Range
1000001 - 9999999
Qty
Price
$1.68

Ref No
44
Part Number
94252-10000
Description
PIN, LOCK (10MM)
Serial Range
1000001 - 9999999
Qty
Price
$1.50

Ref No
45
Part Number
94305-30282
Description
PIN, SPRING (3X28)
Serial Range
1000001 - 9999999
Qty
Price
$1.80

Ref No
46
Part Number
94305-50282
Description
PIN, SPRING (5X28)
Serial Range
1000001 - 9999999
Qty
Price
$2.30

Ref No
47
Part Number
95701-06012-08
Description
BOLT, FLANGE (6X12)
Serial Range
1000001 - 9999999
Qty
Price
$2.04

Ref No
48
Part Number
95701-08012-08
Description
BOLT, FLANGE (8X12)
Serial Range
1000001 - 9999999
Qty
Price
$2.20

Ref No
49
Part Number
95701-10016-08
Description
BOLT, FLANGE (10X16)
Serial Range
1000001 - 9999999
Qty
Price
$2.74

Ref No
50
Part Number
96150-62030-10
Description
BEARING, RADIAL BALL (6203UU)
Serial Range
1000001 - 9999999
Qty
Price
$21.28

Ref No
51
Part Number
96150-62040-10
Description
BEARING, RADIAL BALL (6204UU)
Serial Range
1000001 - 9999999
Qty
Price
$26.04